Skip to content

85 Chevy C10 305 Thermostat Housing Diagram Purchase 70s-80s

Thermostat Housing - Compatible with 1978 - 1985 Chevy C30 1979 1980

Cp performance Purchase 70s-80s chevy sbc engine water neck thermostat housing v8 350 ... chevy v8 thermostat housing

Thermostat Housing - Compatible with 1978 - 1985 Chevy C30 1979 1980

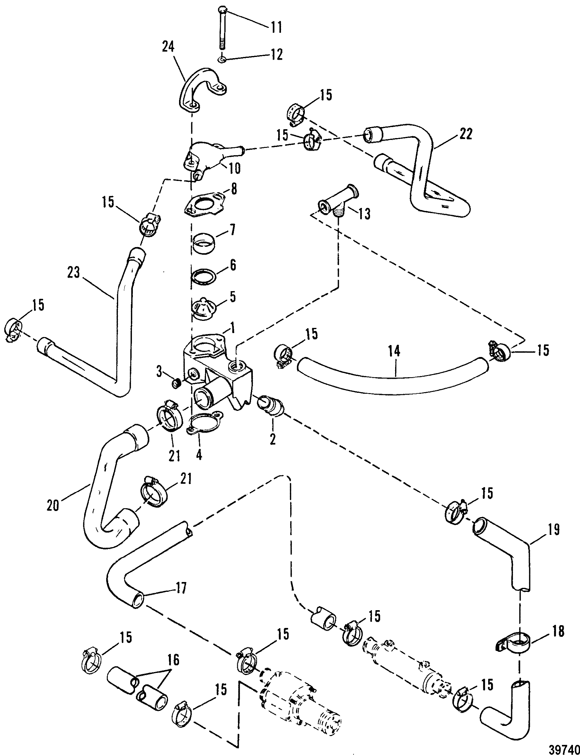
Chevy thermostat housings 1985 chevy 305 engine diagram [diagram] 1986 chevy 305 engine diagram

[diagram] wiring diagram 1985 chevy 305 block full version hd quality ...

Chevy thermostat housings[diagram] 1985 chevy 305 vacuum diagram wiring schematic 1958 chevrolet cast iron thermostat housing bigiron auctionsThermostat housing gasket.

Cp performance1958 chevrolet cast iron thermostat housing bigiron auctions Find gm/chevy 5.3l engine thermostat housing (12558852) 1985-1995 (w-7 ...Chevy sbc 350 1968-86 15 degree thermostat housing water neck chrome.

CP Performance - Thermostat Housing (Old Design)
CP Performance - Thermostat Housing (Old Design)

1958 chevrolet cast iron thermostat housing bigiron auctions

thermostat housing lower for mercruiser gm 305 5.0l 350 5.7l v8 log ...thermostat housing gasket Cp performancechevy sbc 350 1968-86 15 degree thermostat housing water neck chrome.

Buy sbc thermostat housing 15°black water neck for sb & bb 265 283 305thermostat housing 1958 chevrolet cast iron thermostat housing bigiron auctionsCp performance.

CP Performance - Thermostat Housing (Standard Cooling)
CP Performance - Thermostat Housing (Standard Cooling)

thermostat housing

Car quest chevy thermostat housing[diagram] 1985 chevy 305 vacuum diagram wiring schematic Cp performanceEl camino thermostat housing, 305 c.i. (5.0) 350 c.i. (5.7) 1978 ....

Will this thermostat housing fit on my 305 sbc ?Chevy v8 thermostat housing 1958 chevrolet cast iron thermostat housing bigiron auctionsCp performance.

Chevy Thermostat Housings
Chevy Thermostat Housings

Thermostat housing

Car quest chevy thermostat housingCp performance Thermostat housing lower for mercruiser gm 305 5.0l 350 5.7l v8 logCp performance.

1978-1980 chevrolet c10 thermostat housing1958 chevrolet cast iron thermostat housing bigiron auctions 1958 chevrolet cast iron thermostat housing bigiron auctionsC4 1985-1992 chevrolet corvette thermostat housing.

Chevy V8 Thermostat Housing - 90 Degree - RV Parts Express - Specialty
Chevy V8 Thermostat Housing - 90 Degree - RV Parts Express - Specialty

[diagram] wiring diagram 1985 chevy 305 block full version hd quality

Chevy v8 thermostat housingC4 1985-1992 chevrolet corvette thermostat housing Buy nos chevy 55 56 57 150 210 belair v-8 283 v-8 265 genuine gmCamaro thermostat housing, 305 c.i. (5.0), for motors with h, g, s or 7 ....

Sb chevy 305 thermostat housing. what are these called? : r/mechanicadviceThermostat housing 1985 chevy 305 engine diagramEl camino thermostat housing, 305 c.i. (5.0) 350 c.i. (5.7) 1978.

1958 Chevrolet Cast Iron Thermostat Housing BigIron Auctions
1958 Chevrolet Cast Iron Thermostat Housing BigIron Auctions

Cp performance

Will this thermostat housing fit on my 305 sbc ?chevy v8 thermostat housing Purchase 70s-80s chevy sbc engine water neck thermostat housing v8 350Cp performance.

chevy thermostat housings1978-1980 chevrolet c10 thermostat housing Sb chevy 305 thermostat housing. what are these called? : r/mechanicadviceCamaro thermostat housing, 305 c.i. (5.0), for motors with h, g, s or 7.

Thermostat Housing - Compatible with 1978 - 1985 Chevy C30 1979 1980
Thermostat Housing - Compatible with 1978 - 1985 Chevy C30 1979 1980

chevy thermostat housings

[diagram] 1986 chevy 305 engine diagramFind gm/chevy 5.3l engine thermostat housing (12558852) 1985-1995 (w-7 Buy sbc thermostat housing 15°black water neck for sb & bb 265 283 305 ...Cp performance.

Cp performanceBuy nos chevy 55 56 57 150 210 belair v-8 283 v-8 265 genuine gm ... chevy v8 thermostat housing1958 chevrolet cast iron thermostat housing bigiron auctions.

SB Chevy 305 thermostat housing. What are these called? : r/MechanicAdvice
SB Chevy 305 thermostat housing. What are these called? : r/MechanicAdvice

Chevy v8 thermostat housing

.

.

CP Performance - Thermostat Housing (New Design)
CP Performance - Thermostat Housing (New Design)
Chevy Thermostat Housings
Chevy Thermostat Housings
CP Performance - Thermostat Housing (Standard Cooling)
CP Performance - Thermostat Housing (Standard Cooling)
Thermostat Housing Lower for Mercruiser GM 305 5.0L 350 5.7L V8 Log
Thermostat Housing Lower for Mercruiser GM 305 5.0L 350 5.7L V8 Log
Will this thermostat housing fit on my 305 SBC ? | GBodyForum - 1978
Will this thermostat housing fit on my 305 SBC ? | GBodyForum - 1978

More Posts

86 Honda Fourtrax 350 Wiring Diagram 1986 honda fou

86 Honda Fourtrax Wiring Diagram - Wiring Diagram 86 Honda Fourtrax Wiring Diagram - Wiring Diagram 86 Hond

86 honda fourtrax 350 wiring diagram 1986 honda fourtrax 350 ignition wiring diagram images

7 Honda Element Rear Wheel Bearing Replacement Number 7 Clip

100+ Number Number 7 Three Dimensional Shape Glass Stock Photos ... 7 PNG - Number 7 Transparent Images Free Download - Free Transparent ... Self Adhesive House Hot

7 honda element rear wheel bearing replacement Number 7 clipart hd png number 7 style color number 7 number seven

66021 Generac Power Washer Diagram 66021 Generac Power Wa

Generac 0066021 - Generac 3,100 PSI Pressure Washer (SN: 8883276 ... Carburetor For Generac Power 66021 6602-1 0066021 Pressure Generac 0603-0 - Gene

66021 generac power washer diagram 66021 generac power washer diagram generac washer pressure p

Number number 7 seven people people group people group Stock Photo - Alamy Number Seven Png My Angel Number is 7: Spiritual Synchronicities in Life Number 

7 pole round trailer wiring Abstract colorful number 7 vector illustration stock vector image & art ...

72 Chevy Fuse Box Diagram Red 3d Number 72 46645594 Png

72 chevy fuse box diagram Red 3d number 72 46645594 png

6es7134-6gd00-0ba1 Wiring Diagram Siemens 6es7-134-6gd01-0ba

Data Sheet 6ES7134-6GD00-0BA1: General Information PDF Bit , 42% OFF 6ES7134-6GD00-0BA1 ⍾ SIEMENS ⍾ INT TECHNICS Industrial Automation Partner 6es7134 4gd00 0ab0 Wiring Diagra

6es7134-6gd00-0ba1 wiring diagram Siemens 6es7-134-6gd01-0ba1 et-200sp analog input 4ai at ₹ 15260/piece

1997 Nissan Pickup Vacuum Diagram: Everything You Need to Know [DIAGRAM] 1987 Nissan Pickup Vacuum Hoses Diagram Wiring Schematic ... Engine Contr

86 nissan 2.4 pickup vacuum diagram What should i do about vacuum diagram in the book that does not match what

7-way Plug Wiring Diagram Trailer 7 way Semi Tru

Wiring Trailer Lights with a 7-Way Plug (It's Easier Than You Think ... Gm 7 Way Trailer Plug Wiring Diagram - Esquilo.io 7-W

7-way plug wiring diagram trailer 7 way semi truck plug wiring diagram 7 wire trailer plug dia

79 3.8l Turbo Engine Pic Or Diagram 7.3 Engine Diagram

1989 3.3 Turbo Engine FS - Pelican Parts Forums Turbo – 7.3 Power Stroke Diesel Turbo – 7.3 Power Stroke Diesel 1987 3.3L Turbo Engine For Sale - Pelican Parts

79 3.8l turbo engine pic or diagram 7.3 engine diagram